gartengeraete_onlineshop_de Logo
Unsere Seite verwendet Cookies und ähnliche Technologien, um die Benutzererfahrung auf unserer Website zu verbessern, Inhalte und Anzeigen zu personalisieren und die Nutzung unserer Website zu analysieren. Mit Ihrer Einwilligung stimmen Sie der Verwendung von Cookies sowie der Verarbeitung Ihrer persönlichen Daten zu, um Ihnen ein bestmögliches Surferlebnis und mehr Funktionen zu bieten.

Sie können Ihre Einwilligung jederzeit in den Cookie-Einstellungen anpassen oder widerrufen.
Experten-Beratung Lassen Sie sich von unseren Experten beraten und schließen Sie Ihre Bestellung telefonisch ab.
Artikelnummer: 4370086
Hier können Sie unsere qualifizierten Fachberater zur Planung Ihrer Bestellung kontaktieren.
Zum Kontaktformular
Hier erhalten Sie allgemeine Informationen zum Bestellprozess, der Lieferung, der Zahlung und mehr.
Zum FAQ
Hier können Sie Feedback zu dieser Seite abgeben oder unerwartete Inhalte und Auffälligkeiten melden.

Husqvarna Rider 970545301 R 320X AWD

Husqvarna Rider 970545301 R 320X AWD

Nicht lieferbar
Dieser Artikel ist leider nicht mehr zu bestellen. Wir empfehlen Ihnen eine alternative Artikelwahl aus dieser Kategorie. Wir wünschen Ihnen viel Spaß beim Stöbern.
Andere Produkte der Kategorie Ersatzteile
Artikel-Nr.: 4370086
  • Deutschlands bester Händler
  • Trusted Shops Käuferschutz
  • Rechnungskauf
  • Montageservice

Husqvarna Logo

Husqvarna

Der schwedische Hersteller Husqvarna bietet Ihnen Motorgeräte für die Forst-, Garten- sowie Landschaftspflege. Bereits 1689 begann die Unternehmensgeschichte, damals noch mit der Herstellung von Musketen. Somit profitiert das Unternehmen von mehr als 325 Jahre langer Erfahrung – und somit auch seine Kunden.

Die Zufriedenheit der Kunden ist dem international bekannten Unternehmen besonders wichtig. Daher arbeitet Husqvarna eng mit dem Anwender zusammen, auch nach dem Kauf steht das Unternehmen seinen Käufern mit Rat und Tat zur Seite. Sie können sich bei den Husqvarna Produkten daher auf eine kompromisslose Qualität, Benutzerfreundlichkeit sowie Spitzenleistung verlassen.
 

Garantie

Als unser Kunde genießen Sie auch nach dem Kauf Ihres Husqvarna-Produkts zahlreiche Vorteile! Im Garantiefall sind wir Ihr erster Ansprechpartner und werden Ihnen gerne weiterhelfen. Wir verfügen über eine eigene Hersteller-Werkstatt, sind qualifiziert und berechtigt, im Garantiefall alle nötigen Reparaturen an Ihrem Husqvarna-Gerät durchzuführen.

Das bedeutet für Sie: Sie können sich jederzeit an uns wenden, als Ihr Händler bei dem Sie die Ware gekauft haben sind wir stets die erste Adresse. Selbstverständlich steht es Ihnen jedoch frei, sich an jeden anderen autorisierten Husqvarna-Händler zu wenden.

Gegen Vorlegen Ihres Kaufbeleges (inklusive ausgefüllter Garantiekarte) aus unserem Shop können Sie wohnortnah - in ganz Europa, in der Schweiz und in Großbritannien - Ihr registriertes Produkt zur Garantieüberprüfung vorlegen. Der lokale Husqvarna Servicehändler wird im Garantiefall defekte Teile ausschließlich durch original Husqvarna-Ersatzteile und Zubehör ersetzen. 

 

Husqvarna Händler mit Onlineshop 

Ausschließlich autorisierte, qualifizierte Händler dürfen Husqvarna Produkte verkaufen. So erhalten Sie als Kunde fachgerechte Auskunft zu Ihren Fragen. Wir sind ein autorisierter Husqvarna Fachhändler mit eigener Werkstatt. Vor jeder Auslieferung werden die Geräte entsprechend der Herstellervorgaben geprüft.

 

Stationärer Handel:
Kömpf Baumarkt GmbH
Leibnizstr. 2
75365 Calw

 

Husqvarna Geräte

Husqvarna AB
Regeringsgatan 28
11153 Stockholm
Schweden
verkauf@husqvarna.de
Verantwortliche Person:
Husqvarna Deutschland GmbH
Hans-Lorenser-Strasse 40
89079 Ulm
Deutschland
verkauf@husqvarna.de

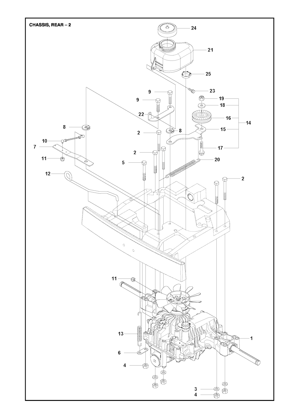
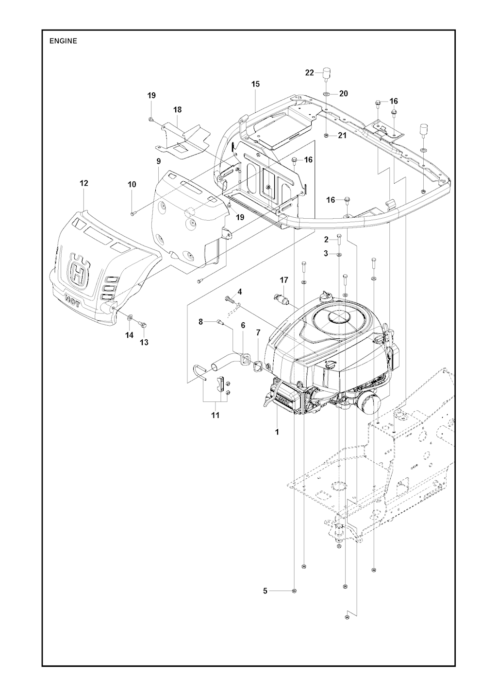
346 von insgesamt 346 eingezeichneten Ersatzteilen in Explosionszeichnung Nr. 1

1
Husqvarna 582 24 46-01 - HALTER
1x
403,46 €
1
Husqvarna 590 71 68-01 - GETRIEBE
1x
836,92 €
1
Husqvarna 590 71 68-01 - GETRIEBE
1x
836,92 €
1
Husqvarna 578 29 50-03 - HYDRAULIKSCHLAUCH
1x
59,04 €
1
Husqvarna 575 48 43-01 - GETRIEBE
1x
1.159,99 €
1
Husqvarna 589 53 12-01 - RIEMEN
1x
30,70 €
1
Husqvarna 577 65 93-01 - Spindel
1x
186,00 €
1
Husqvarna 597 93 54-02- Pedalplatte Hydrostat
1x
139,86 €
1
Husqvarna 506 89 98-01 - MUTTER
3x
4,90 €
1
Husqvarna 544 40 05-01 - SCHRAUBE
4x
2,14 €
1
Husqvarna 593 18 94-01 - Sitz
1x
273,41 €
1
Husqvarna 523 01 26-02 - Laufrad A
4x
189,00 €
1
Husqvarna 523 06 42-03 - Geräterahmen
1x
239,51 €
2
Husqvarna 506 91 62-01 - MUTTER
4x
5,26 €
2
Husqvarna 506 98 61-02 - GLIDLAGER
2x
12,33 €
2
Husqvarna 725 24 67-51 - SCHRAUBE
5x
4,83 €
2
Husqvarna 725 24 67-51 - SCHRAUBE
1x
4,83 €
2
Husqvarna 544 45 64-03 - HYDRAULIKSCHLAUCH
2x
57,82 €
2
Husqvarna 506 98 65-01 - FEDERSCHEIBE
1x
4,77 €
2
Husqvarna 589 53 04-01 - Riemen
1x
46,15 €
2
Husqvarna 738 21 05-04 - KUGELLAGER
1x
7,98 €
2
Husqvarna 586 72 74-01 - Knopf
1x
10,86 €
2
Husqvarna 535 47 52-12 - SCHRAUBE
4x
2,44 €
2
Husqvarna 588 92 69-01 - LAGER L1=29,5
2x
5,37 €
2
Husqvarna 506 57 01-03 - SCHRAUBE
2x
3,34 €
2
Husqvarna 725 24 57-51 - SCHRAUBE
4x
4,21 €
2
Husqvarna 578 05 38-01 - Halter
1x
33,02 €
2
Husqvarna 544 44 07-01 - NIETE
4x
2,26 €
2
Husqvarna 577 90 33-01 - Stopfen
2x
11,82 €
2
Husqvarna 510 22 25-01 - Riemenabdeckung
1x
17,36 €
2
Husqvarna 501 13 15-01 - Sitzhalterung kpl.
1x
50,46 €
2
Husqvarna 523 03 48-01 - FELGE
1x
127,50 €
2
Husqvarna 525 47 59-01 - HAKEN
1x
16,87 €
3
Husqvarna 544 26 21-01 - HALTER
1x
10,56 €
3
Husqvarna 734 11 64-01 - SCHEIBE
4x
4,90 €
3
Husqvarna 734 11 64-01 - SCHEIBE
4x
4,90 €
3
Husqvarna 505 13 11-02 - SCHLAUCHSCHELLE
1x
6,38 €
3
Husqvarna 506 98 66-01 - ABSTAND
2x
8,56 €
3
Husqvarna 725 24 64-51 - SCHRAUBE
1x
4,61 €
3
Husqvarna 594 97 80-01 - Riemen
1x
66,90 €
3
Husqvarna 738 21 10-04 - KUGELLAGER
1x
7,98 €
3
Husqvarna 506 59 74-01 - SCHRAUBE
2x
4,83 €
3
Husqvarna 506 57 01-04 - SCHRAUBE
4x
3,81 €
3
Husqvarna 525 40 66-01 - KOLBEN
1x
8,82 €
3
Husqvarna 506 57 01-03 - SCHRAUBE
2x
3,34 €
3
Husqvarna 577 99 99-01 - Höheneinstellung
1x
37,75 €
3
Husqvarna 578 02 35-01 - Throttle Control
1x
13,72 €
3
Husqvarna 578 26 15-01 - KABEL
1x
8,18 €
3
Husqvarna 578 26 13-04 - Deckel
1x
44,32 €
3
Husqvarna 577 72 93-01 - Fußplatte
1x
59,18 €
3
Husqvarna 510 22 25-02 - Riemenabdeckung
1x
15,80 €
3
Husqvarna 535 46 00-01 - REIFEN
1x
57,44 €
3
Husqvarna 535 46 00-01 - Reifen
1x
57,44 €
3
Husqvarna 544 21 14-01 - AUFKLEBER
2x
2,98 €
4
Husqvarna 506 88 99-01 - HAKEN
1x
15,05 €
4
Husqvarna 731 23 18-01 - SECHSKANTMUTTER
5x
2,40 €
4
Husqvarna 734 11 64-41 - SCHEIBE
1x
2,57 €
4
Husqvarna 544 02 66-01 - SCHLAUCHSCHUTZ
1x
15,34 €
4
Husqvarna 502 45 19-01 - RIEMENSCHEIBE
1x
51,16 €
4
Husqvarna 535 42 38-03 - SCHRAUBE
1x
4,52 €
4
Husqvarna 506 50 92-01 - ABSTANDSHÜLSE
1x
8,93 €
4
Husqvarna 735 31 40-10 - SICHERUNGSRING
1x
3,92 €
4
Husqvarna 544 40 31-01 - BREMSHEBEL KPL.
1x
13,77 €
4
Husqvarna 588 92 71-01 - Amboss
1x
3,92 €
4
Husqvarna 588 16 41-01 - Einstellhebel grau
1x
10,98 €
4
Husqvarna 544 30 17-01 - KABEL
1x
24,47 €
4
Husqvarna 506 55 63-02 - Schraube
1x
2,07 €
4
Husqvarna 504 80 00-10 - Kraftstoffschlauch
1x
14,40 €
4
Husqvarna 588 46 28-03 - Schnappverschluss
1x
3,96 €
4
Husqvarna 577 72 94-01 - Fußplatte
1x
53,03 €
4
Husqvarna 510 22 27-01 - Riemenabdeckung
1x
16,76 €
4
Husqvarna 506 91 53-01 - DRUCKFEDER
1x
19,73 €
4
Husqvarna 523 03 47-01 - VENTIL
1x
4,95 €
4
Husqvarna 579 09 15-01 - Aufkleber
2x
2,71 €
5
Husqvarna 725 24 93-71 - SCHRAUBE
2x
4,94 €
5
Husqvarna 734 11 64-01 - SCHEIBE
3x
4,90 €
5
Husqvarna 725 24 62-51 - SCHRAUBE
1x
4,44 €
5
Husqvarna 732 21 18-01 - LOCK NUT
6x
1,88 €
5
Husqvarna 544 01 00-01 - DICHTUNG
1x
4,53 €
5
Husqvarna 725 23 68-61 - SCHRAUBE
1x
1,94 €
5
Husqvarna 506 98 68-01 - LÜFTER
1x
42,03 €
5
Husqvarna 506 55 59-01 - KEIL
1x
4,19 €
5
Husqvarna 506 98 59-01 - ACHSE
1x
48,92 €
5
Husqvarna 506 59 74-01 - SCHRAUBE
2x
4,83 €
5
Husqvarna 734 11 74-41 - SCHEIBE
1x
3,56 €
5
Husqvarna 535 47 52-12 - SCHRAUBE
1x
2,44 €
5
Husqvarna 721 61 83-01 - SPANNHÜLSE
4x
0,51 €
5
Husqvarna 584 87 13-02 - LAGER
2x
4,43 €
5
Husqvarna 506 88 91-01 - KNOPF
1x
4,76 €
5
Husqvarna 584 24 87-02 - FUEL CAP
1x
27,81 €
5
Husqvarna 578 11 37-01 - Scharnier
1x
5,91 €
5
Husqvarna 577 72 95-01 - Fender
1x
69,60 €
5
Husqvarna 510 22 27-02 - Riemenabdeckung
1x
16,76 €
5
Husqvarna 506 50 48-03 - Scheibe B
2x
3,13 €
5
Husqvarna 582 57 00-01 - Aufkleber
1x
5,69 €
6
Husqvarna 725 24 93-71 - SCHRAUBE
1x
4,94 €
6
Husqvarna 506 59 93-01 - GELENK
1x
3,77 €
6
Husqvarna 732 21 18-01 - LOCK NUT
3x
1,88 €
6
Husqvarna 725 23 64-61 - SCHRAUBE
1x
1,70 €
6
Husqvarna 544 01 00-03 - DICHTUNG
2x
11,32 €
6
Husqvarna 735 31 15-00 - SICHERUNGSRING
1x
4,90 €
6
Husqvarna 535 48 24-01 - RIEMENSCHEIBE
1x
101,32 €
6
Husqvarna 506 77 34-01 - SCHEIBE
2x
2,78 €
6
Husqvarna 506 94 63-01 - BREMSFEDER
1x
7,81 €
6
Husqvarna 588 92 70-01 - HUBARM
1x
7,62 €
6
Husqvarna 506 90 82-01 - HEIGHT ROD
1x
10,72 €
6
Husqvarna 578 05 48-01 - Abgasleitung
1x
25,97 €
6
Husqvarna 579 31 74-01 - Spannband
1x
0,77 €
6
Husqvarna 578 11 37-02 - Scharnier
1x
5,91 €
6
Husqvarna 577 06 20-01 - Aufkleber
2x
12,91 €
6
Husqvarna 577 72 96-01 - Fender
1x
65,19 €
6
Husqvarna 535 42 58-02 - SCHRAUBE MK6 S 6X20
4x
1,70 €
6
Husqvarna 506 94 58-01 - SCHEIBE
1x
6,62 €
7
Husqvarna 725 24 93-71 - SCHRAUBE
1x
4,94 €
7
Husqvarna 731 23 18-01 - SECHSKANTMUTTER
1x
2,40 €
7
Husqvarna 579 59 68-01 - Hebel
1x
12,84 €
7
Husqvarna 544 02 05-01 - ROHRKUPPLUNG
1x
17,08 €
7
Husqvarna 502 45 16-01 - ROHR
1x
19,67 €
7
Husqvarna 544 00 89-02 - LAGER
1x
70,54 €
7
Husqvarna 506 59 75-01 - SCHEIBE
1x
7,13 €
7
Husqvarna 740 68 14-21 - V-RING
1x
4,00 €
7
Husqvarna 576 71 21-01 - BREMSLEITUNG
1x
45,87 €
7
Husqvarna 725 24 97-51 - SCHRAUBE
1x
4,69 €
7
Husqvarna 506 91 45-01 - DICHTUNG
1x
6,76 €
7
Husqvarna 544 41 57-01 - HALTER
1x
5,26 €
7
Husqvarna 722 79 54-02 - NIETE
6x
2,01 €
7
Husqvarna 535 42 91-01 - FEDERMUTTER
4x
4,90 €
7
Husqvarna 576 97 34-01 - Folie
1x
7,20 €
7
Husqvarna 510 22 23-03 - Riemenabdeckung
1x
30,04 €
7
Husqvarna 587 29 04-01 - SITZVERSTELLUNG
1x
37,20 €
7
Husqvarna 506 59 62-03 - Abstandshülse B
2x
9,91 €
7
Husqvarna 523 11 66-02 - HEBEL
1x
13,44 €
8
Husqvarna 584 28 86-04 - SCHEIBE
2x
2,27 €
8
Husqvarna 544 02 66-07 - SCHLAUCHSCHUTZ
1x
16,64 €
8
Husqvarna 506 98 70-01 - SCHLAUCHSCHELLE
2x
6,38 €
8
Husqvarna 544 00 90-02 - LAGERGEHÄUSE
2x
22,41 €
8
Husqvarna 732 21 16-01 - LOCK NUT
1x
1,19 €
8
Husqvarna 506 55 60-02 - SCREW UNC
1x
5,69 €
8
Husqvarna 735 31 26-00 - SICHERUNGSRING
3x
0,57 €
8
Husqvarna 731 23 20-01 - SECHSKANTMUTTER
1x
2,44 €
8
Husqvarna 735 31 09-20 - FEDERRING
1x
0,52 €
8
Husqvarna 734 11 72-01 - Scheibe 3/8
1x
1,86 €
8
Husqvarna 506 55 63-01 - SCREW UNC
2x
2,77 €
8
Husqvarna 574 31 61-01 - SCHALTER
2x
15,24 €
8
Husqvarna 544 40 05-01 - SCHRAUBE
14x
2,14 €
8
Husqvarna 510 22 24-01 - Riemenabdeckung
1x
23,94 €
8
Husqvarna 725 54 47-01 - SCHRAUBE
4x
4,90 €
8
Husqvarna 544 13 26-01 - HÜLSE
1x
32,36 €
8
Husqvarna 581 76 52-01 - SCHEIBE
1x
2,52 €
9
Husqvarna 725 24 51-71 - SCHRAUBE
2x
3,38 €
9
Husqvarna 732 21 18-01 - LOCK NUT
4x
1,88 €
9
Husqvarna 574 53 12-01 - SCHLAUCHSCHELLE
1x
13,15 €
9
Husqvarna 535 40 28-07 - KLAMMER
1x
4,02 €
9
Husqvarna 506 57 01-05 - SCHRAUBE
2x
4,90 €
9
Husqvarna 587 42 52-01 - Riemenführung
1x
17,87 €
9
Husqvarna 506 67 19-01 - FEDER
1x
26,19 €
9
Husqvarna 588 92 74-01 - Stange
1x
9,81 €
9
Husqvarna 506 78 46-01 - KOLBEN
1x
2,53 €
9
Husqvarna 577 81 36-01 - Schalldämpfer
1x
411,54 €
9
Husqvarna 535 46 97-01 - HOSE BRACE
2x
4,90 €
9
Husqvarna 577 73 75-01 - Deckel
1x
32,40 €
9
Husqvarna 522 55 73-01 - Schraube
3x
1,94 €
9
Husqvarna 544 13 26-02 - HÜLSE
1x
38,34 €
9
Husqvarna 725 64 48-01 - SCHRAUBE
1x
1,88 €
10
Husqvarna 725 24 93-71 - SCHRAUBE
2x
4,94 €
10
Husqvarna 734 11 64-01 - SCHEIBE
2x
4,90 €
10
Husqvarna 506 98 75-01 - GESTÄNGE
1x
10,88 €
10
Husqvarna 732 21 18-01 - LOCK NUT
1x
1,88 €
10
Husqvarna 725 23 64-61 - SCHRAUBE
2x
1,70 €
10
Husqvarna 725 23 68-61 - SCHRAUBE
1x
1,94 €
10
Husqvarna 725 23 68-61 - SCHRAUBE
1x
1,94 €
10
Husqvarna 535 40 28-32 - STOPFEN
1x
13,55 €
10
Husqvarna 590 73 54-01 - FEDERHALTER
1x
14,90 €
10
Husqvarna 574 41 12-02 - REGULIERUNG
1x
73,27 €
10
Husqvarna 588 92 73-01 - Amboss
1x
7,13 €
10
Husqvarna 544 44 12-01 - FEDER
1x
3,46 €
10
Husqvarna 574 85 62-01 - SCHRAUBE
2x
2,57 €
10
Husqvarna 577 76 45-01 - Sicherungsmutter
1x
7,98 €
10
Husqvarna 516 01 88-01 - Riemenabdeckung
1x
27,62 €
10
Husqvarna 506 50 48-05 - Scheibe A
4x
2,37 €
10
Husqvarna 506 53 56-03 - ZUGFEDER
1x
4,53 €
11
Husqvarna 732 21 14-01 - LOCK NUT
2x
4,90 €
11
Husqvarna 732 21 18-01 - LOCK NUT
2x
1,88 €
11
Husqvarna 732 21 20-51 - MUTTER
2x
3,55 €
11
Husqvarna 506 67 08-01 - GELENK
1x
7,51 €
11
Husqvarna 578 77 68-01 - KUGELGELENK
2x
8,89 €
11
Husqvarna 578 04 07-01 - GELENK
1x
11,25 €
11
Husqvarna 501 15 22-01 - Clamp assy
2x
1,38 €
11
Husqvarna 506 90 97-01 - FEDERSCHEIBE
1x
11,27 €
11
Husqvarna 577 06 20-01 - Aufkleber
2x
12,91 €
11
Husqvarna 525 56 33-03 - Riemenabdeckung
1x
33,11 €
11
Husqvarna Armlehne für Rider 300er-Serie
1x
100,00 €
11
Husqvarna 525 48 67-01 - RIEMENFÜHRUNG
1x
5,72 €
12
Husqvarna 734 11 64-01 - SCHEIBE
1x
4,90 €
12
Husqvarna 584 28 86-04 - SCHEIBE
1x
2,27 €
12
Husqvarna 506 98 82-01 - FRIKOPPLINGSSTÅNG
1x
9,88 €
12
Husqvarna 732 21 16-01 - LOCK NUT
2x
1,19 €
12
Husqvarna 535 48 44-01 - RIEMENSPANNER KPL.
1x
39,89 €
12
Husqvarna 506 59 74-01 - SCHRAUBE
1x
4,83 €
12
Husqvarna 588 92 75-01 - Feder
1x
9,73 €
12
Husqvarna 577 81 85-02 - Schutz
1x
68,35 €
12
Husqvarna 725 64 53-01 - SCHRAUBE
4x
0,89 €
12
Husqvarna 544 35 35-01 - Radkappe A
4x
7,59 €
12
Husqvarna 506 97 48-01 - RIEMENSCHEIBE
1x
53,63 €
13
Husqvarna 725 24 51-71 - SCHRAUBE
4x
3,38 €
13
Husqvarna 506 83 43-01 - FEDER
1x
2,98 €
13
Husqvarna 535 40 28-37 - DICHTUNG
2x
32,36 €
13
Husqvarna 725 24 64-51 - SCHRAUBE
1x
4,61 €
13
Husqvarna 506 57 01-05 - SCHRAUBE
1x
4,90 €
13
Husqvarna 535 48 50-01 - Dichtung
1x
9,51 €
13
Husqvarna 506 59 74-01 - SCHRAUBE
2x
4,83 €
13
Husqvarna 576 49 25-01 - RIEMENSCHEIBE
1x
61,01 €
13
Husqvarna 731 23 14-01 - SECHSKANTMUTTER
2x
1,18 €
13
Husqvarna 506 90 56-01 - RAD
2x
21,94 €
13
Husqvarna 525 56 24-01 - ABDECKUNG
1x
49,19 €
13
Husqvarna 506 82 68-02 - BUSHING
1x
12,53 €
14
Husqvarna 506 98 84-01 - RIEMENSPANNER KPL.
1x
75,90 €
14
Husqvarna 502 45 32-01 - SCHALTHEBEL
1x
39,20 €
14
Husqvarna 735 31 26-00 - SICHERUNGSRING
1x
0,57 €
14
Husqvarna 734 11 74-41 - SCHEIBE
1x
3,56 €
14
Husqvarna 522 43 08-01 - HALTER
1x
6,59 €
14
Husqvarna 582 87 19-01 - WELLE
1x
15,26 €
14
Husqvarna 523 11 45-01 - VERBINDUNGSSTANGE
1x
10,63 €
14
Husqvarna 506 83 94-01 - FEDERSCHEIBE
2x
2,19 €
14
Husqvarna 579 43 43-01 - ZÜNDSCHLOSS
1x
35,32 €
14
Husqvarna 576 97 34-01 - Folie
1x
7,20 €
14
Husqvarna 725 24 59-51 - SCHRAUBE
1x
4,83 €
15
Husqvarna 588 74 04-01 - RIEMENSPANNER
1x
14,27 €
15
Husqvarna 734 11 64-41 - SCHEIBE
1x
2,57 €
15
Husqvarna 725 23 64-61 - SCHRAUBE
3x
1,70 €
15
Husqvarna 506 66 56-01 - FEDER
1x
11,38 €
15
Husqvarna 506 67 54-03 - SCHRAUBE
1x
4,26 €
15
Husqvarna 721 61 83-01 - SPANNHÜLSE
2x
0,51 €
15
Husqvarna 582 87 19-02 - WELLE
1x
15,79 €
15
Husqvarna 586 37 94-01 - Schlüssel
1x
0,83 €
15
Husqvarna 502 43 53-01 - SCHRAUBE
5x
1,12 €
16
Husqvarna 506 94 69-01 - RIEMENSCHEIBE
1x
35,32 €
16
Husqvarna 535 40 28-17 - HEBEL
1x
15,05 €
16
Husqvarna 506 52 24-01 - SEILROLLE
2x
9,19 €
16
Husqvarna 506 57 01-04 - SCHRAUBE
4x
3,81 €
16
Husqvarna 738 21 02-04 - KUGELLAGER
1x
6,30 €
16
Husqvarna 735 31 18-20 - FEDERRING
2x
4,90 €
16
Husqvarna 502 65 57-01 - Schalter
1x
35,84 €
16
Husqvarna 577 22 87-01 - BLECH
1x
15,86 €
17
Husqvarna 725 24 55-71 - SCHRAUBE
1x
3,02 €
17
Husqvarna 544 40 53-01 - RIEMENFÜHRUNG
1x
7,58 €
17
Husqvarna 506 53 94-04 - WELLE
1x
16,79 €
17
Husqvarna 532 42 82-87 - STOPFEN
1x
11,50 €
18
Husqvarna 734 11 64-41 - SCHEIBE
1x
2,57 €
18
Husqvarna 535 40 28-33 - PIN RETAINING SCREW
1x
3,20 €
18
Husqvarna 586 32 04-01 - Schraube
1x
1,74 €
18
Husqvarna 735 31 14-20 - FEDERRING
2x
0,52 €
18
Husqvarna 506 55 47-01 - GELENK
1x
4,62 €
18
Husqvarna 579 52 93-01 - LUFTKANAL
1x
9,44 €
18
Husqvarna 544 43 98-01 - RELAIS
1x
14,41 €
18
Husqvarna 504 61 09-01 - SCHRAUBE
10x
4,90 €
18
Husqvarna 589 49 57-01 - Abdeckung
1x
20,68 €
19
Husqvarna 732 21 18-01 - LOCK NUT
1x
1,88 €
19
Husqvarna 725 23 64-61 - SCHRAUBE
2x
1,70 €
19
Husqvarna 535 40 28-38 - HEBEL
1x
16,10 €
19
Husqvarna 581 91 64-01 - WELLE
1x
20,91 €
19
Husqvarna 506 55 46-01 - KETTE
1x
19,67 €
19
Husqvarna 535 47 52-12 - SCHRAUBE
2x
2,44 €
20
Husqvarna 734 11 64-41 - SCHEIBE
1x
2,57 €
20
Husqvarna 594 92 41-01 - FEDER
1x
3,46 €
20
Husqvarna 535 40 28-39 - RETURN SPRING
1x
13,35 €
20
Husqvarna 506 67 54-02 - SCHRAUBE
1x
5,49 €
20
Husqvarna 506 55 47-01 - GELENK
2x
4,62 €
20
Husqvarna 506 83 94-01 - FEDERSCHEIBE
2x
2,19 €
20
Husqvarna 576 18 39-01 - KABEL
1x
9,65 €
21
Husqvarna 732 21 18-01 - LOCK NUT
2x
1,88 €
21
Husqvarna 544 10 01-01 - EXPANSIONSBEHÄLTER
1x
59,40 €
21
Husqvarna 535 40 28-40 - PIN RETAINING SCREW
1x
4,01 €
21
Husqvarna 501 60 48-04 - KABELSATZ
2x
19,43 €
21
Husqvarna 544 45 69-01 - VERBINDUNGSSTANGE
1x
6,93 €
21
Husqvarna 725 24 59-51 - SCHRAUBE
1x
4,83 €
22
Husqvarna 544 12 17-01 - HALTER
1x
6,62 €
22
Husqvarna 535 40 28-41 - PIN RETAINING SCREW
1x
3,30 €
22
Husqvarna 731 23 20-01 - SECHSKANTMUTTER
2x
2,44 €
22
Husqvarna 576 18 38-01 - KABEL
1x
13,23 €
22
Husqvarna 504 62 24-01 - FEDER
1x
9,39 €
23
Husqvarna 725 23 64-61 - SCHRAUBE
1x
1,70 €
23
Husqvarna 544 42 73-01 - KLAMMER
1x
34,12 €
23
Husqvarna 586 96 64-01 - Pedalgummi, 75 mm
1x
12,30 €
23
Husqvarna 544 37 86-01 - GELENK
1x
7,10 €
23
Husqvarna 577 04 16-01 - BATTERIE
1x
95,64 €
23
Husqvarna 504 62 21-02 - EINSTELLHEBEL KPL.
1x
15,11 €
24
Husqvarna 506 67 33-01 - TANKDECKEL KPL.
1x
37,09 €
24
Husqvarna 544 37 33-02 - ROHRHALTER
1x
3,83 €
24
Husqvarna 522 62 21-01 - SCHRAUBE
2x
1,70 €
24
Husqvarna 732 21 20-51 - MUTTER
2x
3,55 €
24
Husqvarna 735 31 14-20 - FEDERRING
1x
0,52 €
24
Husqvarna 586 96 64-02 - Gummipedal, Länge = 102MM
1x
15,68 €
24
Husqvarna 505 45 17-01 - SCHEIBE
1x
10,79 €
25
Husqvarna 505 13 11-02 - SCHLAUCHSCHELLE
1x
6,38 €
25
Husqvarna 544 37 38-02 - ABDECKPLATTE
1x
4,51 €
25
Husqvarna 506 57 64-02 - KABELHALTER
1x
3,69 €
25
Husqvarna 544 44 88-01 - VERBINDUNGSSTANGE
1x
7,29 €
25
Husqvarna 522 62 43-01 - MUTTER
2x
1,93 €
25
Husqvarna 725 64 53-01 - SCHRAUBE
1x
0,89 €
26
Husqvarna 734 11 64-41 - SCHEIBE
1x
2,57 €
26
Husqvarna 506 57 01-07 - SCHRAUBE
1x
4,57 €
26
Husqvarna 584 15 56-01 - Halter
1x
8,89 €
26
Husqvarna 506 56 65-01 - KLAMMER
1x
4,90 €
26
Husqvarna 506 83 68-02 - RIEMEN
1x
4,90 €
27
Husqvarna 732 21 18-01 - LOCK NUT
2x
1,88 €
27
Husqvarna 544 81 17-01 - MUTTER
1x
2,30 €
27
Husqvarna 583 89 97-01 - HALTER
1x
15,16 €
27
Husqvarna 544 93 42-01 - ANSCHLAGKETTE
1x
3,72 €
28
Husqvarna 535 49 97-01 - ARM
1x
9,03 €
28
Husqvarna 735 31 17-00 - SICHERUNGSRING
1x
4,90 €
28
Husqvarna 506 96 66-01 - HAIR PIN COTTER
1x
4,90 €
29
Husqvarna 506 57 01-04 - SCHRAUBE
4x
3,81 €
30
Husqvarna 578 29 19-01 - HEBEL
1x
13,44 €
30
Husqvarna 587 08 09-01 - BEDIENER
1x
10,10 €
30
Husqvarna 506 89 58-01 - COLLAR SCREW
2x
6,82 €
31
Husqvarna 721 43 47-01 - FEDERSTIFT
1x
4,90 €
31
Husqvarna 732 25 22-01 - SICHERUNGSMUTTER
2x
4,53 €
32
Husqvarna 506 96 66-01 - HAIR PIN COTTER
1x
4,90 €
33
Husqvarna 535 49 28-02 - HALTER
1x
5,91 €
33
Husqvarna 506 83 76-01 - FEDER
2x
28,31 €
34
Husqvarna 544 45 67-03 - STANGE
1x
78,94 €
34
Husqvarna 578 26 17-01 - ZÜNDSCHLOSS
1x
25,97 €
34
Husqvarna 506 83 77-01 - RING BOLT
2x
8,63 €
35
Husqvarna 734 11 72-01 - Scheibe 3/8
2x
1,86 €
35
Husqvarna 544 44 23-01 - MUTTER
1x
1,18 €
36
Husqvarna 731 23 20-01 - SECHSKANTMUTTER
4x
2,44 €
36
Husqvarna 544 44 24-01 - Schlüssel
1x
9,67 €
40
Husqvarna 544 84 17-01 - SCHRAUBE
1x
4,90 €
41
Husqvarna 725 23 70-71 - SCHRAUBE
1x
4,90 €
41
Husqvarna 522 62 21-01 - SCHRAUBE
1x
1,70 €
42
Husqvarna 732 21 16-01 - LOCK NUT
1x
1,19 €
44
Husqvarna 506 95 17-01 - GELENKKOPF
2x
14,89 €
45
Husqvarna 732 21 18-01 - LOCK NUT
2x
1,88 €
46
Husqvarna 544 44 19-01 - GESTÄNGE
1x
12,29 €
47
Husqvarna 732 21 16-01 - LOCK NUT
1x
1,19 €
48
Husqvarna 725 24 93-71 - SCHRAUBE
2x
4,94 €
49
Husqvarna 725 23 66-51 - HEXAGONAL SCREW M6X12
2x
4,90 €
50
Husqvarna 574 51 51-01 - SATZ
1x
4,94 €
50
Husqvarna 732 21 16-01 - LOCK NUT
3x
1,19 €
51
Husqvarna 574 51 52-01 - O-RING
1x
4,30 €
51
Husqvarna 544 80 80-01 - ROHR
1x
62,18 €
52
Husqvarna 544 80 79-01 - ROHR
1x
65,12 €
53
Husqvarna 535 42 68-06 - ROHRKUPPLUNG
2x
22,10 €
55
Husqvarna 578 04 78-01 - HALTER
1x
7,38 €
56
Husqvarna 725 23 68-61 - SCHRAUBE
1x
1,94 €

Produktbewertungen unserer Kunden
Unsere Bewertungen sind zu 100% echt.
Bewertungen von Kunden, die ihre Ware nicht bei uns gekauft haben, werden entsprechend gekennzeichnet.
Bewertungen mit diesem Symbol stammen von verifizierten Käufern!
Zu diesem Produkt gibt es noch keine Kundenbewertungen.
Sie können die erste Person sein, die zu diesem Produkt eine Bewertung schreibt.