gartengeraete_onlineshop_de Logo
Unsere Seite verwendet Cookies und ähnliche Technologien, um die Benutzererfahrung auf unserer Website zu verbessern, Inhalte und Anzeigen zu personalisieren und die Nutzung unserer Website zu analysieren. Mit Ihrer Einwilligung stimmen Sie der Verwendung von Cookies sowie der Verarbeitung Ihrer persönlichen Daten zu, um Ihnen ein bestmögliches Surferlebnis und mehr Funktionen zu bieten.

Sie können Ihre Einwilligung jederzeit in den Cookie-Einstellungen anpassen oder widerrufen.
Experten-Beratung Lassen Sie sich von unseren Experten über das Kontaktformular beraten.
Artikelnummer: 4348146
Hier können Sie unsere qualifizierten Fachberater zur Planung Ihrer Bestellung kontaktieren.
Zum Kontaktformular
Hier erhalten Sie allgemeine Informationen zum Bestellprozess, der Lieferung, der Zahlung und mehr.
Zum FAQ
Hier können Sie Feedback zu dieser Seite abgeben oder unerwartete Inhalte und Auffälligkeiten melden.

Husqvarna Rider 965105001 Rider 175 AWD

Husqvarna Rider 965105001 Rider 175 AWD

Aktueller Preis 99.999,99 €
5€ Rabatt bei Newsletter-Anmeldung -
- 5,00 €
2% Rabatt bei Vorkasse als Zahlungsart
- 1.999,90 €
Sie sparen 2.004,90 €
Neuer Preis 97.995,09 €
Nicht lieferbar
Dieser Artikel ist leider nicht mehr zu bestellen. Wir empfehlen Ihnen eine alternative Artikelwahl aus dieser Kategorie. Wir wünschen Ihnen viel Spaß beim Stöbern.
Andere Produkte der Kategorie Ersatzteile
Artikel-Nr.: 4348146
  • Deutschlands bester Händler
  • Trusted Shops Käuferschutz
  • Rechnungskauf
  • Montageservice

Husqvarna Logo

Husqvarna

Der schwedische Hersteller Husqvarna bietet Ihnen Motorgeräte für die Forst-, Garten- sowie Landschaftspflege. Bereits 1689 begann die Unternehmensgeschichte, damals noch mit der Herstellung von Musketen. Somit profitiert das Unternehmen von mehr als 325 Jahre langer Erfahrung – und somit auch seine Kunden.

Die Zufriedenheit der Kunden ist dem international bekannten Unternehmen besonders wichtig. Daher arbeitet Husqvarna eng mit dem Anwender zusammen, auch nach dem Kauf steht das Unternehmen seinen Käufern mit Rat und Tat zur Seite. Sie können sich bei den Husqvarna Produkten daher auf eine kompromisslose Qualität, Benutzerfreundlichkeit sowie Spitzenleistung verlassen.
 

Garantie

Als unser Kunde genießen Sie auch nach dem Kauf Ihres Husqvarna-Produkts zahlreiche Vorteile! Im Garantiefall sind wir Ihr erster Ansprechpartner und werden Ihnen gerne weiterhelfen. Wir verfügen über eine eigene Hersteller-Werkstatt, sind qualifiziert und berechtigt, im Garantiefall alle nötigen Reparaturen an Ihrem Husqvarna-Gerät durchzuführen.

Das bedeutet für Sie: Sie können sich jederzeit an uns wenden, als Ihr Händler bei dem Sie die Ware gekauft haben sind wir stets die erste Adresse. Selbstverständlich steht es Ihnen jedoch frei, sich an jeden anderen autorisierten Husqvarna-Händler zu wenden.

Gegen Vorlegen Ihres Kaufbeleges (inklusive ausgefüllter Garantiekarte) aus unserem Shop können Sie wohnortnah - in ganz Europa, in der Schweiz und in Großbritannien - Ihr registriertes Produkt zur Garantieüberprüfung vorlegen. Der lokale Husqvarna Servicehändler wird im Garantiefall defekte Teile ausschließlich durch original Husqvarna-Ersatzteile und Zubehör ersetzen. 

 

Husqvarna Händler mit Onlineshop 

Ausschließlich autorisierte, qualifizierte Händler dürfen Husqvarna Produkte verkaufen. So erhalten Sie als Kunde fachgerechte Auskunft zu Ihren Fragen. Wir sind ein autorisierter Husqvarna Fachhändler mit eigener Werkstatt. Vor jeder Auslieferung werden die Geräte entsprechend der Herstellervorgaben geprüft.

 

Stationärer Handel:
Kömpf Baumarkt GmbH
Leibnizstr. 2
75365 Calw

 

Husqvarna Geräte

Husqvarna AB
Regeringsgatan 28
11153 Stockholm
Schweden
verkauf@husqvarna.de
Verantwortliche Person:
Husqvarna Deutschland GmbH
Hans-Lorenser-Strasse 40
89079 Ulm
Deutschland
verkauf@husqvarna.de

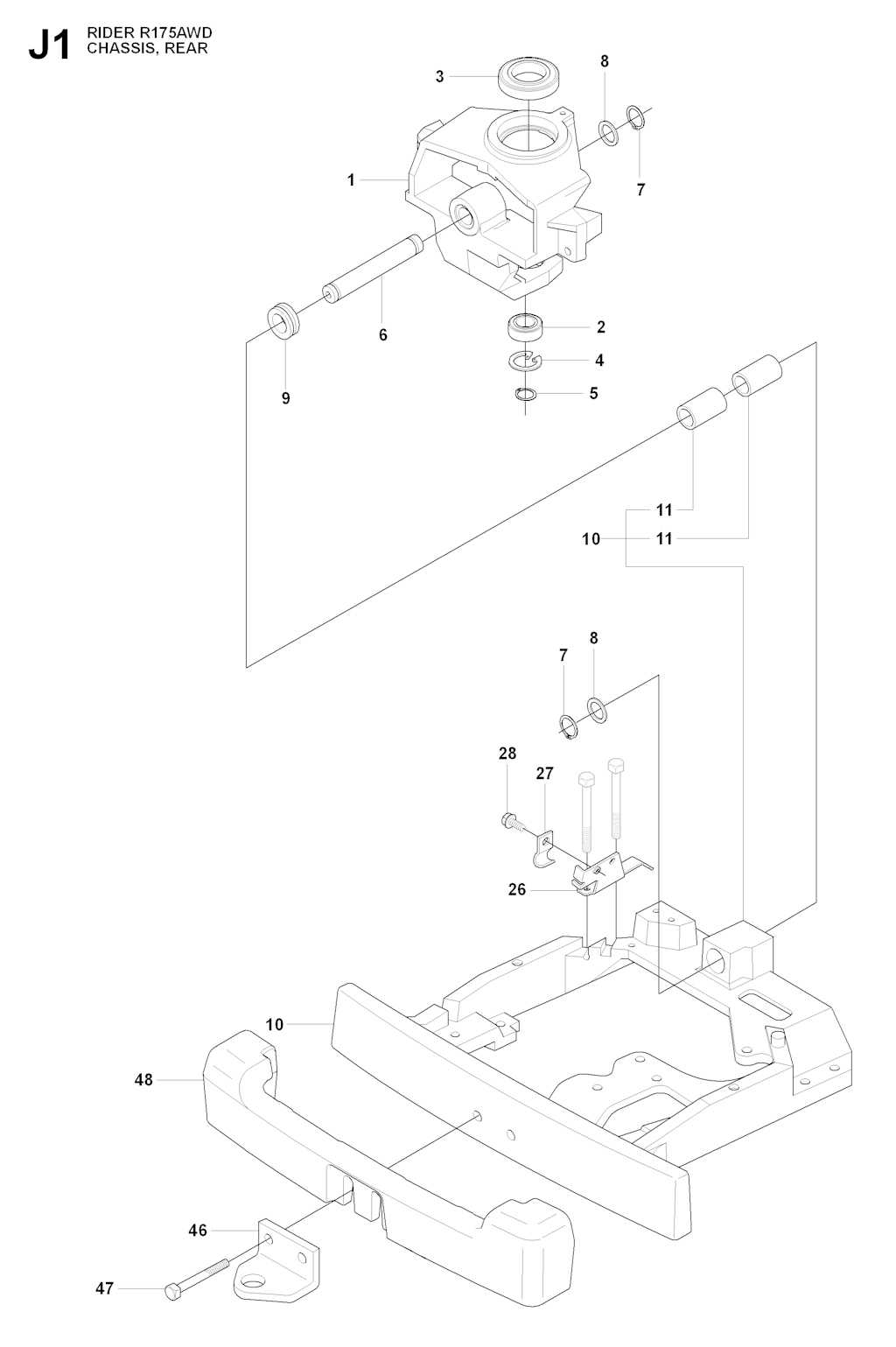
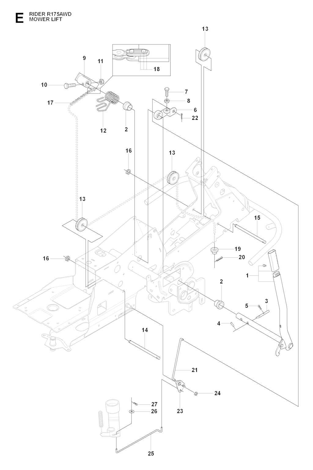
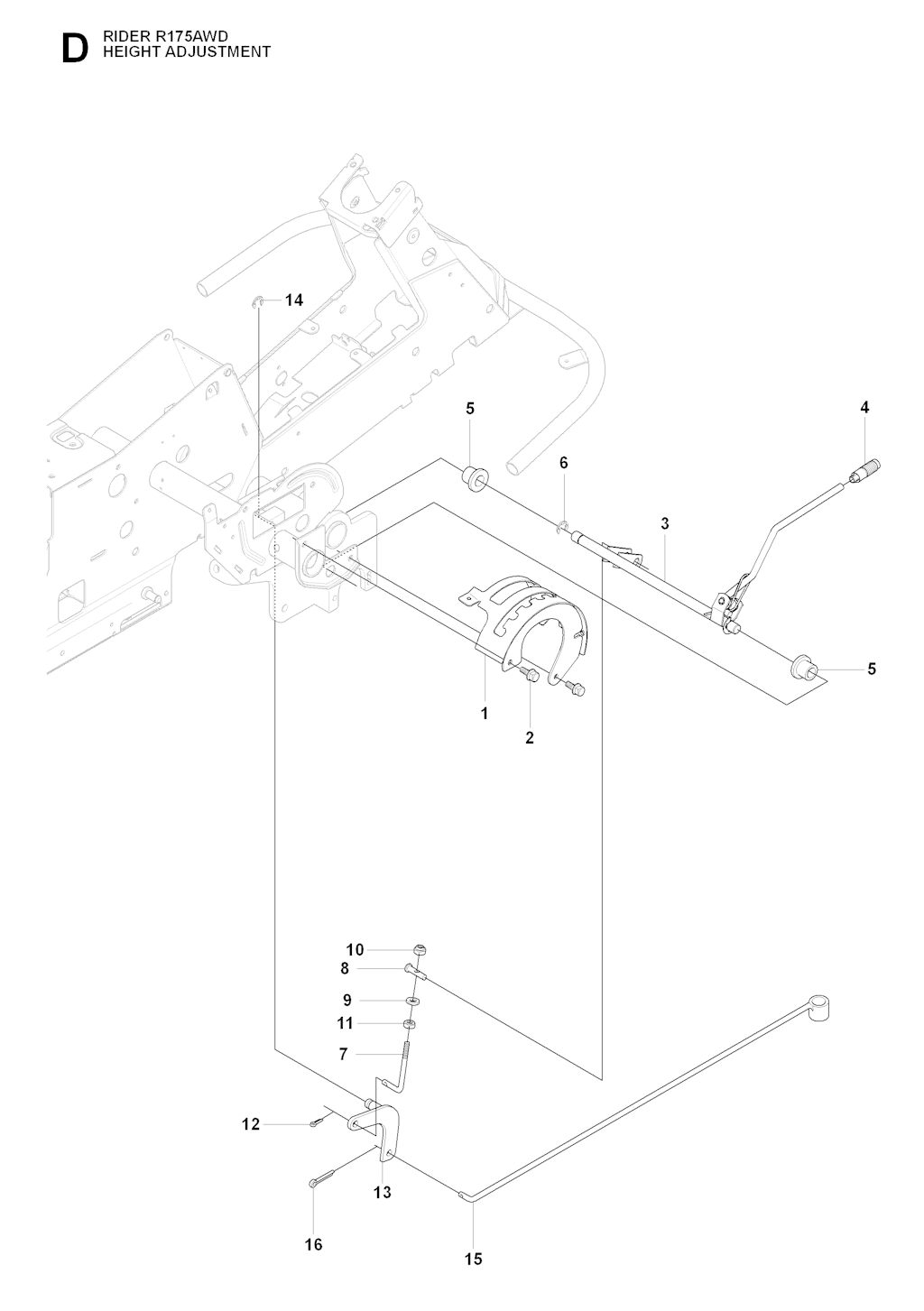
405 von insgesamt 405 eingezeichneten Ersatzteilen in Explosionszeichnung Nr. 1

1
Husqvarna 544 32 85-03 - SITZHALTERUNG
1x
68,95 €
1
Husqvarna 535 50 13-01 - KRAFTSTOFFTANK
1x
92,71 €
1
Husqvarna 544 89 59-01 - FUSSBLECH
1x
62,80 €
1
Husqvarna 544 84 24-01 - RAHMEN
1x
544,06 €
1
Husqvarna 589 53 12-01 - RIEMEN
1x
30,70 €
1
Husqvarna 506 98 58-03 - SCHENKEL
1x
195,11 €
1
Husqvarna 506 67 19-01 - FEDER
1x
26,19 €
1
Husqvarna 544 30 15-01 - GASHEBEL
1x
12,38 €
1
Husqvarna 583 95 14-01 - PEDALPLATTE KPL.
1x
135,78 €
1
Husqvarna 535 49 01-02 - RAHMEN
1x
255,21 €
1
Husqvarna 544 11 29-03 - MAEHDECK
1x
409,60 €
1
Husqvarna 544 11 30-03 - GEHAEUSE
1x
890,55 €
1
Husqvarna Unterfahrschutz
1x
98,89 €
2
Husqvarna 506 91 53-01 - DRUCKFEDER
1x
19,73 €
2
Husqvarna 544 24 84-01 - FUSSBLECH RECHTS
1x
5,90 €
2
Husqvarna 506 57 01-03 - SCHRAUBE
2x
3,34 €
2
Husqvarna 506 55 65-01 - LAGER
2x
5,44 €
2
Husqvarna 544 24 42-02 - MOTORRAHMEN
1x
196,34 €
2
Husqvarna 599 67 59-02 - Riemen
1x
46,15 €
2
Husqvarna 725 24 57-51 - SCHRAUBE
4x
4,21 €
2
Husqvarna 738 21 05-04 - KUGELLAGER
1x
7,98 €
2
Husqvarna 725 24 67-51 - SCHRAUBE
1x
4,83 €
2
Husqvarna 506 98 65-01 - FEDERSCHEIBE
1x
4,77 €
2
Husqvarna 544 30 17-01 - KABEL
1x
24,47 €
2
Husqvarna 535 44 11-01 - BATTERY MAT
1x
19,50 €
2
Husqvarna 544 43 87-01 - AUFKLEBER
1x
2,82 €
2
Husqvarna 506 89 58-01 - COLLAR SCREW
2x
6,82 €
2
Husqvarna 535 43 74-01 - LABEL WARNING
1x
2,99 €
2
Husqvarna 544 11 31-01 - MEAHDECK KPL
1x
678,17 €
3
Husqvarna 734 11 74-41 - SCHEIBE
1x
3,56 €
3
Husqvarna 732 21 16-01 - LOCK NUT
2x
1,19 €
3
Husqvarna 544 89 59-03 - FUSSBLECH
1x
61,50 €
3
Husqvarna 732 25 22-01 - SICHERUNGSMUTTER
2x
4,53 €
3
Husqvarna 544 24 44-01 - STOPFEN
2x
3,18 €
3
Husqvarna 594 97 80-01 - Riemen
1x
66,90 €
3
Husqvarna 734 11 64-01 - SCHEIBE
3x
4,90 €
3
Husqvarna 738 21 10-04 - KUGELLAGER
1x
7,98 €
3
Husqvarna 725 24 64-51 - SCHRAUBE
1x
4,61 €
3
Husqvarna 506 98 66-01 - ABSTAND
2x
8,56 €
3
Husqvarna 506 67 08-01 - GELENK
1x
7,51 €
3
Husqvarna 506 57 01-04 - SCHRAUBE
4x
3,81 €
3
Husqvarna 506 88 91-01 - KNOPF
1x
4,76 €
3
Husqvarna 510 02 69-01 - ABDECKUNG
1x
19,05 €
3
Husqvarna 535 46 00-01 - Reifen
1x
57,44 €
3
Husqvarna 544 43 88-01 - AUFKLEBER
1x
2,42 €
3
Husqvarna 506 91 62-01 - MUTTER
3x
5,26 €
3
Husqvarna 506 91 62-01 - MUTTER
3x
5,26 €
4
Husqvarna 725 24 93-71 - SCHRAUBE
1x
4,94 €
4
Husqvarna 725 23 64-61 - SCHRAUBE
2x
1,70 €
4
Husqvarna 544 24 84-03 - Unterlage
1x
5,90 €
4
Husqvarna 506 57 01-03 - SCHRAUBE
2x
3,34 €
4
Husqvarna 725 25 42-51 - Schraube
1x
5,69 €
4
Husqvarna 725 25 42-51 - Schraube
1x
5,69 €
4
Husqvarna 506 50 92-01 - ABSTANDSHÜLSE
1x
8,93 €
4
Husqvarna 735 21 64-00 - SICHERUNGSSCHEIBE
1x
2,27 €
4
Husqvarna 506 59 74-01 - SCHRAUBE
1x
4,83 €
4
Husqvarna 735 31 40-10 - SICHERUNGSRING
1x
3,92 €
4
Husqvarna 502 45 19-01 - RIEMENSCHEIBE
1x
51,16 €
4
Husqvarna 535 42 38-03 - SCHRAUBE
1x
4,52 €
4
Husqvarna 544 40 31-01 - BREMSHEBEL KPL.
1x
13,77 €
4
Husqvarna 506 83 68-02 - RIEMEN
1x
4,90 €
4
Husqvarna 506 57 43-01 - Ventil
1x
4,99 €
4
Husqvarna 506 83 76-01 - FEDER
2x
28,31 €
4
Husqvarna 544 44 92-01 - STOPFEN
1x
102,07 €
4
Husqvarna 544 44 93-01 - STOPFEN
1x
102,07 €
5
Husqvarna 506 67 33-01 - TANKDECKEL KPL.
1x
37,09 €
5
Husqvarna 725 23 64-61 - SCHRAUBE
2x
1,70 €
5
Husqvarna 544 40 05-01 - SCHRAUBE
4x
2,14 €
5
Husqvarna 732 21 18-01 - LOCK NUT
4x
1,88 €
5
Husqvarna 732 21 18-01 - LOCK NUT
2x
1,88 €
5
Husqvarna 721 61 83-01 - SPANNHÜLSE
1x
0,51 €
5
Husqvarna 725 24 51-71 - SCHRAUBE
2x
3,38 €
5
Husqvarna 506 55 59-01 - KEIL
1x
4,19 €
5
Husqvarna 735 31 26-00 - SICHERUNGSRING
1x
0,57 €
5
Husqvarna 734 11 64-01 - SCHEIBE
3x
4,90 €
5
Husqvarna 506 98 68-01 - LÜFTER
1x
42,03 €
5
Husqvarna 544 37 52-02 - LENKRAD
1x
78,19 €
5
Husqvarna 506 57 01-04 - SCHRAUBE
3x
3,81 €
5
Husqvarna 506 57 01-04 - SCHRAUBE
3x
3,81 €
5
Husqvarna 522 62 21-01 - SCHRAUBE
1x
1,70 €
5
Husqvarna 506 50 48-03 - Scheibe B
2x
3,13 €
5
Husqvarna 544 43 92-01 - AUFKLEBER
1x
2,53 €
5
Husqvarna 506 83 77-01 - RING BOLT
2x
8,63 €
6
Husqvarna 544 24 50-02 - MOTORHAUBE
1x
103,35 €
6
Husqvarna 735 31 22-20 - FEDERRING
1x
4,90 €
6
Husqvarna 732 21 18-01 - LOCK NUT
2x
1,88 €
6
Husqvarna 732 21 18-01 - LOCK NUT
3x
1,88 €
6
Husqvarna 731 23 20-51 - SECHSKANTMUTTER
4x
2,69 €
6
Husqvarna 732 25 22-01 - SICHERUNGSMUTTER
2x
4,53 €
6
Husqvarna 732 25 22-01 - SICHERUNGSMUTTER
2x
4,53 €
6
Husqvarna 535 48 24-01 - RIEMENSCHEIBE
1x
101,32 €
6
Husqvarna 535 50 06-01 - ROHR
1x
43,19 €
6
Husqvarna 506 98 59-01 - ACHSE
1x
48,92 €
6
Husqvarna 735 31 15-00 - SICHERUNGSRING
1x
4,90 €
6
Husqvarna 728 74 55-05 - SCHRAUBE
1x
2,14 €
6
Husqvarna 506 94 63-01 - BREMSFEDER
1x
7,81 €
6
Husqvarna 522 62 43-01 - MUTTER
1x
1,93 €
6
Husqvarna 506 94 58-01 - SCHEIBE
1x
6,62 €
7
Husqvarna 506 56 53-01 - BUSHING
2x
5,46 €
7
Husqvarna 535 46 97-01 - HOSE BRACE
2x
4,90 €
7
Husqvarna 725 23 64-61 - SCHRAUBE
1x
1,70 €
7
Husqvarna 544 24 51-01 - SCHARNIER
1x
8,29 €
7
Husqvarna 506 90 82-01 - HEIGHT ROD
1x
10,72 €
7
Husqvarna 734 11 72-01 - Scheibe 3/8
2x
1,86 €
7
Husqvarna 731 23 18-01 - SECHSKANTMUTTER
1x
2,40 €
7
Husqvarna 725 24 97-51 - SCHRAUBE
1x
4,69 €
7
Husqvarna 506 59 75-01 - SCHEIBE
1x
7,13 €
7
Husqvarna 735 31 26-00 - SICHERUNGSRING
2x
0,57 €
7
Husqvarna 506 91 45-01 - DICHTUNG
1x
6,76 €
7
Husqvarna 506 59 74-01 - SCHRAUBE
2x
4,83 €
7
Husqvarna 506 59 74-01 - SCHRAUBE
2x
4,83 €
7
Husqvarna 502 45 16-01 - ROHR
1x
19,67 €
7
Husqvarna 506 59 62-03 - Abstandshülse B
2x
9,91 €
8
Husqvarna 734 11 64-41 - SCHEIBE
2x
2,57 €
8
Husqvarna 506 55 63-01 - SCREW UNC
2x
2,77 €
8
Husqvarna 725 23 64-61 - SCHRAUBE
1x
1,70 €
8
Husqvarna 544 24 51-02 - SCHARNIER
1x
8,28 €
8
Husqvarna 506 78 46-01 - KOLBEN
1x
2,53 €
8
Husqvarna 732 21 18-01 - LOCK NUT
2x
1,88 €
8
Husqvarna 732 21 18-01 - LOCK NUT
2x
1,88 €
8
Husqvarna 731 23 20-51 - SECHSKANTMUTTER
1x
2,69 €
8
Husqvarna 506 55 60-02 - SCREW UNC
1x
5,69 €
8
Husqvarna 506 77 34-01 - SCHEIBE
2x
2,78 €
8
Husqvarna 506 98 70-01 - SCHLAUCHSCHELLE
2x
6,38 €
8
Husqvarna 735 31 09-20 - FEDERRING
1x
0,52 €
8
Husqvarna 506 89 98-01 - MUTTER
1x
4,90 €
8
Husqvarna 544 13 26-01 - HÜLSE
1x
32,36 €
8
Husqvarna 544 83 36-01 - AUFKLEBER
1x
2,68 €
8
Husqvarna 506 96 66-01 - HAIR PIN COTTER
1x
4,90 €
8
Husqvarna 738 23 04-34 - KUGELLAGER
2x
8,84 €
8
Husqvarna 738 23 04-34 - KUGELLAGER
2x
8,84 €
9
Husqvarna 506 55 63-01 - SCREW UNC
2x
2,77 €
9
Husqvarna 501 02 03-01 - STUETZE
1x
18,40 €
9
Husqvarna 722 79 54-02 - NIETE
6x
2,01 €
9
Husqvarna 734 11 72-01 - Scheibe 3/8
1x
1,86 €
9
Husqvarna 506 57 01-05 - SCHRAUBE
2x
4,90 €
9
Husqvarna 544 33 57-01 - SCHALLDÄMPFER KPL.
1x
293,44 €
9
Husqvarna 740 68 14-21 - V-RING
1x
4,00 €
9
Husqvarna 535 40 28-07 - KLAMMER
1x
4,02 €
9
Husqvarna 506 86 34-01 - BEDIENER
3x
9,81 €
9
Husqvarna 506 53 56-03 - ZUGFEDER
1x
4,53 €
9
Husqvarna 544 13 26-02 - HÜLSE
1x
38,34 €
10
Husqvarna 725 24 93-71 - SCHRAUBE
2x
4,94 €
10
Husqvarna 725 23 64-61 - SCHRAUBE
2x
1,70 €
10
Husqvarna 544 24 50-02 - MOTORHAUBE
1x
103,35 €
10
Husqvarna 732 21 18-01 - LOCK NUT
1x
1,88 €
10
Husqvarna 731 23 20-51 - SECHSKANTMUTTER
4x
2,69 €
10
Husqvarna 725 25 42-51 - Schraube
1x
5,69 €
10
Husqvarna 734 11 64-01 - SCHEIBE
2x
4,90 €
10
Husqvarna 535 40 60-01 - BEFESTIGUNG
1x
317,69 €
10
Husqvarna 535 40 28-32 - STOPFEN
1x
13,55 €
10
Husqvarna 728 84 43-05 - SCHRAUBE
3x
4,90 €
10
Husqvarna 544 44 21-01 - ZÜNDSCHLOSS
1x
26,26 €
10
Husqvarna 506 50 48-05 - Scheibe A
4x
2,37 €
10
Husqvarna 544 39 11-02 - AUFKLEBER
1x
3,24 €
11
Husqvarna 735 31 12-00 - SPERRING
1x
4,90 €
11
Husqvarna 732 21 18-01 - LOCK NUT
2x
1,88 €
11
Husqvarna 731 23 18-01 - SECHSKANTMUTTER
1x
2,40 €
11
Husqvarna 732 25 22-01 - SICHERUNGSMUTTER
1x
4,53 €
11
Husqvarna 535 48 44-01 - RIEMENSPANNER KPL.
1x
39,89 €
11
Husqvarna 506 98 61-02 - GLIDLAGER
2x
12,33 €
11
Husqvarna 506 55 73-01 - VINKELL.AS8 DIN71802
2x
7,43 €
11
Husqvarna 544 44 22-01 - ZÜNDSCHLOSS
1x
22,61 €
11
Husqvarna 544 21 14-01 - AUFKLEBER
2x
2,98 €
12
Husqvarna 506 66 88-01 - SPRING COTTER
1x
2,44 €
12
Husqvarna 721 61 83-01 - SPANNHÜLSE
1x
0,51 €
12
Husqvarna 735 31 26-00 - SICHERUNGSRING
1x
0,57 €
12
Husqvarna 544 24 83-01 - HITZESCHUTZ
1x
54,99 €
12
Husqvarna 732 21 14-01 - LOCK NUT
2x
4,90 €
12
Husqvarna 506 88 78-01 - ABSTANDSSCHEIBE
1x
5,96 €
12
Husqvarna 544 44 23-01 - MUTTER
1x
1,18 €
12
Husqvarna 544 35 35-01 - Radkappe A
4x
7,59 €
12
Husqvarna 734 11 77-71 - SCHEIBE
1x
1,74 €
13
Husqvarna 535 50 25-01 - DECKEL
1x
18,31 €
13
Husqvarna 735 31 15-20 - FEDERRING
1x
4,90 €
13
Husqvarna 506 90 56-01 - RAD
2x
21,94 €
13
Husqvarna 506 66 56-01 - FEDER
1x
11,38 €
13
Husqvarna 506 59 74-01 - SCHRAUBE
2x
4,83 €
13
Husqvarna 725 24 67-51 - SCHRAUBE
4x
4,83 €
13
Husqvarna 535 40 28-37 - DICHTUNG
2x
32,36 €
13
Husqvarna 738 21 04-04 - KUGELLAGER
1x
7,74 €
13
Husqvarna 731 23 14-01 - SECHSKANTMUTTER
2x
1,18 €
13
Husqvarna 544 44 24-01 - Schlüssel
1x
9,67 €
13
Husqvarna 544 83 39-01 - AUFKLEBER
1x
4,62 €
13
Husqvarna 738 23 04-34 - KUGELLAGER
2x
8,84 €
13
Husqvarna 738 23 04-34 - KUGELLAGER
2x
8,84 €
14
Husqvarna 544 40 05-01 - SCHRAUBE
1x
2,14 €
14
Husqvarna 735 31 15-20 - FEDERRING
1x
4,90 €
14
Husqvarna 734 11 64-01 - SCHEIBE
4x
4,90 €
14
Husqvarna 506 83 94-01 - FEDERSCHEIBE
2x
2,19 €
14
Husqvarna 502 45 32-01 - SCHALTHEBEL
1x
39,20 €
14
Husqvarna 506 57 01-04 - SCHRAUBE
1x
3,81 €
14
Husqvarna 522 43 08-01 - HALTER
1x
6,59 €
14
Husqvarna 544 83 39-02 - AUFKLEBER
1x
6,07 €
15
Husqvarna 725 23 64-61 - SCHRAUBE
1x
1,70 €
15
Husqvarna 544 33 21-03 - DECKEL
1x
31,49 €
15
Husqvarna 731 23 18-01 - SECHSKANTMUTTER
4x
2,40 €
15
Husqvarna 506 67 54-02 - SCHRAUBE
1x
5,49 €
15
Husqvarna 544 80 79-01 - ROHR
1x
65,12 €
16
Husqvarna 721 61 83-01 - SPANNHÜLSE
1x
0,51 €
16
Husqvarna 735 31 18-20 - FEDERRING
2x
4,90 €
16
Husqvarna 535 48 22-01 - RIEMENSCHEIBE
1x
85,64 €
16
Husqvarna 535 40 28-17 - HEBEL
1x
15,05 €
16
Husqvarna 544 80 80-01 - ROHR
1x
62,18 €
16
Husqvarna 738 21 02-04 - KUGELLAGER
1x
6,30 €
16
Husqvarna 535 42 38-01 - SCHRAUBE
12x
3,34 €
16
Husqvarna 535 42 38-01 - SCHRAUBE
12x
3,34 €
17
Husqvarna 535 42 91-01 - FEDERMUTTER
1x
4,90 €
17
Husqvarna 734 11 64-01 - SCHEIBE
12x
4,90 €
17
Husqvarna 734 11 64-01 - SCHEIBE
12x
4,90 €
17
Husqvarna 735 31 40-10 - SICHERUNGSRING
1x
3,92 €
17
Husqvarna 725 24 59-51 - SCHRAUBE
1x
4,83 €
17
Husqvarna 544 45 64-03 - HYDRAULIKSCHLAUCH
2x
57,82 €
17
Husqvarna 544 43 98-01 - RELAIS
1x
14,41 €
18
Husqvarna 544 40 05-01 - SCHRAUBE
4x
2,14 €
18
Husqvarna 732 21 18-01 - LOCK NUT
12x
1,88 €
18
Husqvarna 732 21 18-01 - LOCK NUT
12x
1,88 €
18
Husqvarna 506 55 47-01 - GELENK
1x
4,62 €
18
Husqvarna 544 40 53-01 - RIEMENFÜHRUNG
1x
7,58 €
18
Husqvarna 725 24 62-51 - SCHRAUBE
1x
4,44 €
18
Husqvarna 535 40 28-33 - PIN RETAINING SCREW
1x
3,20 €
18
Husqvarna 506 89 98-01 - MUTTER
2x
4,90 €
18
Husqvarna 722 78 39-02 - BLIND RIVET
2x
2,01 €
19
Husqvarna 506 57 01-05 - SCHRAUBE
1x
4,90 €
19
Husqvarna 506 59 74-01 - SCHRAUBE
2x
4,83 €
19
Husqvarna 506 59 93-01 - GELENK
1x
3,77 €
19
Husqvarna 535 40 28-38 - HEBEL
1x
16,10 €
19
Husqvarna 505 13 11-01 - SCHLAUCHSCHELLE
1x
1,70 €
19
Husqvarna 506 92 21-01 - RIEMENSCHEIBE
3x
34,57 €
19
Husqvarna 506 92 21-01 - RIEMENSCHEIBE
3x
34,57 €
20
Husqvarna 544 40 05-01 - SCHRAUBE
2x
2,14 €
20
Husqvarna 732 21 18-01 - LOCK NUT
2x
1,88 €
20
Husqvarna 731 23 18-01 - SECHSKANTMUTTER
2x
2,40 €
20
Husqvarna 721 61 87-01 - SPANNHÜLSE
1x
4,90 €
20
Husqvarna 506 67 54-02 - SCHRAUBE
1x
5,49 €
20
Husqvarna 535 40 28-39 - RETURN SPRING
1x
13,35 €
20
Husqvarna 544 02 66-01 - SCHLAUCHSCHUTZ
1x
15,34 €
20
Husqvarna 506 90 93-01 - BLATTFEDER
1x
4,09 €
20
Husqvarna 506 53 35-01 - FLACHKEIL
7x
3,87 €
20
Husqvarna 506 53 35-01 - FLACHKEIL
7x
3,87 €
21
Husqvarna 734 11 74-41 - SCHEIBE
1x
3,56 €
21
Husqvarna 544 23 92-01 - GEHÄUSE
1x
60,63 €
21
Husqvarna 544 45 69-01 - VERBINDUNGSSTANGE
1x
6,93 €
21
Husqvarna 535 40 28-40 - PIN RETAINING SCREW
1x
4,01 €
21
Husqvarna 544 37 33-03 - ROHRHALTER
1x
3,83 €
21
Husqvarna 722 78 39-02 - BLIND RIVET
2x
2,01 €
21
Husqvarna 544 06 80-02 - ABSTANDSHÜLSE
1x
12,27 €
21
Husqvarna 544 06 80-02 - ABSTANDSHÜLSE
1x
12,27 €
22
Husqvarna 544 42 75-01 - TEPPICH
1x
9,98 €
22
Husqvarna 721 61 83-01 - SPANNHÜLSE
1x
0,51 €
22
Husqvarna 535 40 28-41 - PIN RETAINING SCREW
1x
3,30 €
22
Husqvarna 535 43 85-01 - DECKSCHEIBE
1x
4,12 €
22
Husqvarna 506 77 86-01 - RIEMENSCHEIBE
1x
77,66 €
22
Husqvarna 506 77 86-01 - RIEMENSCHEIBE
1x
77,66 €
23
Husqvarna 734 11 74-41 - SCHEIBE
3x
3,56 €
23
Husqvarna 734 11 74-41 - SCHEIBE
3x
3,56 €
23
Husqvarna 544 40 05-01 - SCHRAUBE
2x
2,14 €
23
Husqvarna 544 37 86-01 - GELENK
1x
7,10 €
23
Husqvarna 725 23 78-61 - SCHRAUBE
1x
2,44 €
23
Husqvarna 506 52 24-01 - SEILROLLE
2x
9,19 €
23
Husqvarna 544 44 07-01 - NIETE
2x
2,26 €
24
Husqvarna 544 32 65-01 - GEHÄUSE
1x
28,45 €
24
Husqvarna 735 31 14-20 - FEDERRING
1x
0,52 €
24
Husqvarna 506 98 75-01 - GESTÄNGE
1x
10,88 €
24
Husqvarna 544 37 33-02 - ROHRHALTER
1x
3,83 €
24
Husqvarna 506 90 96-01 - SCHALTER
1x
14,98 €
24
Husqvarna 506 97 48-01 - RIEMENSCHEIBE
1x
53,63 €
24
Husqvarna 544 11 41-01 - SCHRAUBE
3x
1,32 €
24
Husqvarna 544 11 41-01 - SCHRAUBE
3x
1,32 €
25
Husqvarna 544 40 05-01 - SCHRAUBE
2x
2,14 €
25
Husqvarna 735 31 14-20 - FEDERRING
2x
0,52 €
25
Husqvarna 544 44 88-01 - VERBINDUNGSSTANGE
1x
7,29 €
25
Husqvarna 732 21 14-01 - LOCK NUT
2x
4,90 €
25
Husqvarna 544 37 38-02 - ABDECKPLATTE
1x
4,51 €
25
Husqvarna 506 90 97-01 - FEDERSCHEIBE
1x
11,27 €
25
Husqvarna 725 24 61-51 - SCHRAUBE
1x
4,34 €
25
Husqvarna 535 50 42-02 - ADAPTER
3x
16,28 €
25
Husqvarna 535 50 42-02 - ADAPTER
3x
16,28 €
26
Husqvarna 734 11 64-41 - SCHEIBE
1x
2,57 €
26
Husqvarna 734 11 64-41 - SCHEIBE
1x
2,57 €
26
Husqvarna 544 43 32-01 - SCHUTZABDECKUNG
1x
3,40 €
26
Husqvarna 544 26 21-01 - HALTER
1x
10,56 €
26
Husqvarna 506 57 01-07 - SCHRAUBE
1x
4,57 €
26
Husqvarna 506 55 46-01 - KETTE
1x
19,67 €
26
Husqvarna 544 44 12-01 - FEDER
1x
3,46 €
26
Husqvarna Messer Combi 103
3x
30,90 €
26
Husqvarna Messer Combi 112
3x
36,41 €
27
Husqvarna 732 21 18-01 - LOCK NUT
1x
1,88 €
27
Husqvarna 721 61 83-01 - SPANNHÜLSE
1x
0,51 €
27
Husqvarna 506 55 47-01 - GELENK
2x
4,62 €
27
Husqvarna 506 56 65-01 - KLAMMER
1x
4,90 €
27
Husqvarna 544 81 17-01 - MUTTER
1x
2,30 €
28
Husqvarna 725 23 64-61 - SCHRAUBE
1x
1,70 €
28
Husqvarna 535 49 97-01 - ARM
1x
9,03 €
28
Husqvarna 544 42 73-01 - KLAMMER
1x
34,12 €
28
Husqvarna 544 11 41-01 - SCHRAUBE
3x
1,32 €
28
Husqvarna 544 11 41-01 - SCHRAUBE
3x
1,32 €
29
Husqvarna 731 23 20-51 - SECHSKANTMUTTER
4x
2,69 €
29
Husqvarna 734 11 64-01 - SCHEIBE
1x
4,90 €
29
Husqvarna 506 98 82-01 - FRIKOPPLINGSSTÅNG
1x
9,88 €
29
Husqvarna 503 73 58-01 - BUSHING
1x
4,88 €
29
Husqvarna 506 54 07-01 - RIEMENSPANNER KPL.
1x
69,48 €
29
Husqvarna 506 54 07-01 - RIEMENSPANNER KPL.
1x
69,48 €
30
Husqvarna 506 83 43-01 - FEDER
1x
2,98 €
30
Husqvarna 506 51 95-01 - SPÄNNARM KPL.
1x
71,57 €
30
Husqvarna 506 51 95-01 - SPÄNNARM KPL.
1x
71,57 €
31
Husqvarna 506 98 84-01 - RIEMENSPANNER KPL.
1x
75,90 €
31
Husqvarna 721 43 47-01 - FEDERSTIFT
1x
4,90 €
31
Husqvarna 738 21 04-04 - KUGELLAGER
1x
7,74 €
31
Husqvarna 544 41 57-01 - HALTER
1x
5,26 €
31
Husqvarna 506 53 27-01 - RIEMENSCHEIBE
1x
54,88 €
31
Husqvarna 506 53 27-01 - RIEMENSCHEIBE
1x
54,88 €
32
Husqvarna 734 11 64-41 - SCHEIBE
1x
2,57 €
32
Husqvarna 734 11 64-41 - SCHEIBE
1x
2,57 €
32
Husqvarna 544 44 07-01 - NIETE
2x
2,26 €
32
Husqvarna 735 31 38-10 - SICHERUNGSRING
1x
4,90 €
33
Husqvarna 506 94 69-01 - RIEMENSCHEIBE
1x
35,32 €
33
Husqvarna 535 49 28-02 - HALTER
1x
5,91 €
33
Husqvarna 506 55 83-02 - SCHRAUBE
1x
2,44 €
33
Husqvarna 506 55 83-02 - SCHRAUBE
1x
2,44 €
33
Husqvarna 506 55 83-02 - SCHRAUBE
1x
2,44 €
34
Husqvarna 734 11 64-41 - SCHEIBE
1x
2,57 €
34
Husqvarna 725 24 55-51 - SCHRAUBE
1x
2,44 €
34
Husqvarna 544 45 67-03 - STANGE
1x
78,94 €
35
Husqvarna 734 11 64-41 - SCHEIBE
1x
2,57 €
35
Husqvarna 725 24 51-71 - SCHRAUBE
1x
3,38 €
35
Husqvarna 725 24 51-71 - SCHRAUBE
1x
3,38 €
35
Husqvarna 535 48 66-02 - GELENKKOPF
1x
7,62 €
35
Husqvarna 506 97 68-01 - FEDER
1x
12,33 €
36
Husqvarna 732 21 18-01 - LOCK NUT
1x
1,88 €
36
Husqvarna 732 21 18-01 - LOCK NUT
1x
1,88 €
36
Husqvarna 732 21 18-01 - LOCK NUT
1x
1,88 €
36
Husqvarna 503 22 10-18 - SECHSKANTMUTTER
1x
4,90 €
37
Husqvarna 535 48 65-03 - STANGE
1x
25,50 €
37
Husqvarna 506 53 31-01 - FEDER
1x
9,39 €
37
Husqvarna 506 53 31-01 - FEDER
1x
9,39 €
38
Husqvarna 731 23 16-01 - SECHSKANTMUTTER
1x
4,90 €
38
Husqvarna 589 53 06-01 - Riemen für 103 cm Mähdeck
1x
54,95 €
39
Husqvarna 535 48 66-01 - GELENKKOPF
1x
7,72 €
39
Husqvarna 544 09 61-01 - DECKEL
1x
46,33 €
39
Husqvarna 544 09 62-01 - DECKEL
1x
47,99 €
40
Husqvarna 725 24 64-51 - SCHRAUBE
1x
4,61 €
40
Husqvarna 544 84 17-01 - SCHRAUBE
1x
4,90 €
41
Husqvarna 544 10 01-01 - EXPANSIONSBEHÄLTER
1x
59,40 €
41
Husqvarna 725 23 70-71 - SCHRAUBE
1x
4,90 €
42
Husqvarna 544 12 17-01 - HALTER
1x
6,62 €
42
Husqvarna 535 42 30-01 - BEFESTIGUNG
1x
78,99 €
42
Husqvarna 535 42 30-01 - BEFESTIGUNG
1x
78,99 €
43
Husqvarna 725 23 64-61 - SCHRAUBE
1x
1,70 €
43
Husqvarna 725 24 51-71 - SCHRAUBE
4x
3,38 €
43
Husqvarna 725 24 51-71 - SCHRAUBE
4x
3,38 €
44
Husqvarna 506 67 33-01 - TANKDECKEL KPL.
1x
37,09 €
44
Husqvarna 732 21 18-01 - LOCK NUT
4x
1,88 €
44
Husqvarna 732 21 18-01 - LOCK NUT
4x
1,88 €
44
Husqvarna 506 95 17-01 - GELENKKOPF
2x
14,89 €
45
Husqvarna 535 47 52-12 - SCHRAUBE
2x
2,44 €
45
Husqvarna 535 46 88-01 - GESTAENGE
1x
139,59 €
45
Husqvarna 535 43 06-01 - STUETZE
1x
59,42 €
46
Husqvarna 506 88 99-01 - HAKEN
1x
15,05 €
46
Husqvarna 544 44 19-01 - GESTÄNGE
1x
12,29 €
46
Husqvarna 535 46 87-01 - GESTAENGE
1x
112,59 €
47
Husqvarna 725 25 00-51 - SCHRAUBE
2x
4,91 €
47
Husqvarna 506 86 96-01 - LAGER
8x
5,74 €
47
Husqvarna 506 86 96-01 - LAGER
8x
5,74 €
48
Husqvarna 725 24 93-71 - SCHRAUBE
2x
4,94 €
48
Husqvarna 544 03 96-02 - GEGENGEWICHT
1x
120,00 €
48
Husqvarna 506 81 38-01 - REINFORCING PLATE
3x
4,65 €
48
Husqvarna 506 81 38-01 - REINFORCING PLATE
3x
4,65 €
49
Husqvarna 725 23 66-51 - HEXAGONAL SCREW M6X12
2x
4,90 €
50
Husqvarna 732 21 16-01 - LOCK NUT
1x
1,19 €
50
Husqvarna 725 24 61-51 - SCHRAUBE
8x
4,34 €
50
Husqvarna 725 24 61-51 - SCHRAUBE
8x
4,34 €
51
Husqvarna 732 21 18-01 - LOCK NUT
8x
1,88 €
51
Husqvarna 732 21 18-01 - LOCK NUT
8x
1,88 €
51
Husqvarna 505 45 11-01 - O-RING
2x
2,95 €
55
Husqvarna 506 89 76-01 - MUTTER
1x
2,44 €
55
Husqvarna 506 89 76-01 - MUTTER
1x
2,44 €
56
Husqvarna 506 95 17-01 - GELENKKOPF
1x
14,89 €
56
Husqvarna 506 95 17-01 - GELENKKOPF
1x
14,89 €
57
Husqvarna 731 23 20-51 - SECHSKANTMUTTER
1x
2,69 €
57
Husqvarna 731 23 20-51 - SECHSKANTMUTTER
1x
2,69 €
61
Husqvarna 506 89 76-01 - MUTTER
1x
2,44 €
61
Husqvarna 506 89 76-01 - MUTTER
1x
2,44 €
62
Husqvarna 506 53 56-03 - ZUGFEDER
1x
4,53 €
62
Husqvarna 506 53 56-03 - ZUGFEDER
1x
4,53 €
64
Husqvarna 732 21 20-51 - MUTTER
3x
3,55 €
64
Husqvarna 732 21 20-51 - MUTTER
3x
3,55 €
65
Husqvarna 535 46 36-01 - FANGBUEGEL
1x
284,72 €
65
Husqvarna 535 41 23-02 - FANGBUEGEL
1x
302,38 €
66
Husqvarna 506 59 74-01 - SCHRAUBE
4x
4,83 €
66
Husqvarna 506 59 74-01 - SCHRAUBE
4x
4,83 €
67
Husqvarna 732 21 18-01 - LOCK NUT
4x
1,88 €
67
Husqvarna 732 21 18-01 - LOCK NUT
4x
1,88 €
68
Husqvarna 506 96 30-01 - RAD KPL.
2x
74,95 €
68
Husqvarna 506 96 30-01 - RAD KPL.
2x
74,95 €
69
Husqvarna 535 46 41-01 - SCHEIBE
4x
3,15 €
69
Husqvarna 535 46 41-01 - SCHEIBE
4x
3,15 €
70
Husqvarna 735 31 17-00 - SICHERUNGSRING
2x
4,90 €
70
Husqvarna 735 31 17-00 - SICHERUNGSRING
2x
4,90 €
74
Husqvarna 732 21 16-01 - LOCK NUT
4x
1,19 €
74
Husqvarna 732 21 16-01 - LOCK NUT
4x
1,19 €
75
Husqvarna 506 78 97-01 - AUFKLEBER
1x
4,39 €
75
Husqvarna 506 78 97-01 - AUFKLEBER
1x
4,39 €
76
Husqvarna 544 23 81-03 - AUFKLEBER
1x
3,58 €
76
Husqvarna 544 23 81-05 - AUFKLEBER
1x
3,20 €

Produktbewertungen unserer Kunden
Unsere Bewertungen sind zu 100% echt.
Bewertungen von Kunden, die ihre Ware nicht bei uns gekauft haben, werden entsprechend gekennzeichnet.
Bewertungen mit diesem Symbol stammen von verifizierten Käufern!
Zu diesem Produkt gibt es noch keine Kundenbewertungen.
Sie können die erste Person sein, die zu diesem Produkt eine Bewertung schreibt.